LED
Elektronische Konstantstromtreiber STM HPFU
Eigenschaften:
- Treiber für den Einbau
- Eingangs- und Ausgangsklemmen auf derselben Seite.
- Einzelanschluss im Primär- und Sekundärkreis (Leiterquerschnitt bis 2,5 mm² / AWG 13).
- Ultrakompakte Bauform.
- Geeignet für Beleuchtungsanlagen der Schutzklassen I und II.
- Der Treiber kann mit einer Schraubnut befestigt werden.
- Schutzfunktionen:
- gegen Überhitzung und Kurzschlüsse;
- gegen Netzspannungsspitzen;
- gegen Überlastung. - Stromregelung: -8 % bis +5 % (inkl. Temperaturschwankungen)
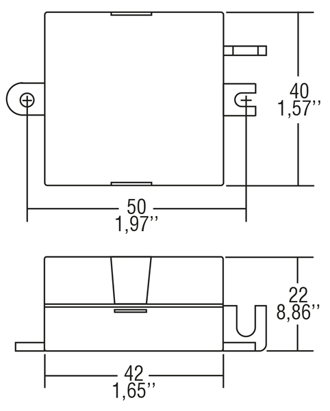
Abmessungen
Länge: 42 mm
Breite: 40 mm
Höhe: 22 mm

| Max. Leistung | Typ | Artikel- nummer | Spannung 50-60 Hz | Ausgangs- strom DC | Ausgangs- spannung DC (V) | U out | ta | tc | Effizienz bei Volllast | Rippel 100 Hz | Preis Euro |
|---|---|---|---|---|---|---|---|---|---|---|---|
| W | V | mA | V | V | °C | °C | % | % | |||
| 6 | STM HPFU 127718 |
993866 | 90 ÷ 264 | 700 | 2...12 | 13 | -25...+45 | 80 | > 79 | ≤ 3 | 27,10 € |
| 6 | STM HPFU 127719 |
993875 | 90 ÷ 264 | 250 | 2...36 | 39 | -25...+55 | 80 | > 77 | ≤ 3 | 27,10 € |
